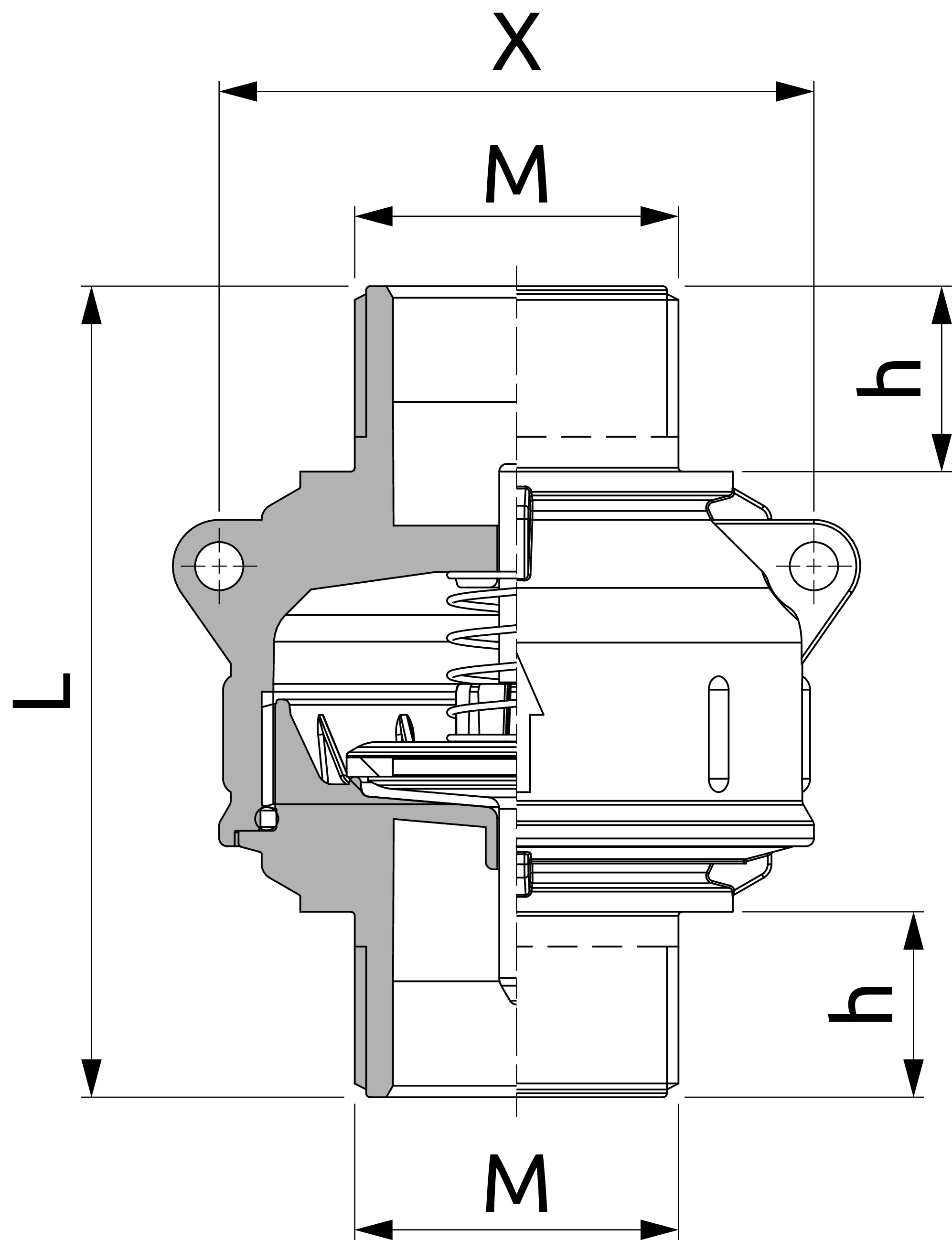
3" LÁBSZELEP K-K MENET

TERMÉKKÓD: 5042019

Minimális nyitási nyomás 0,02 bar

11 875 Ft